SICUR 2026 Brokerage Event - Cluster 3

24 – 26 Feb 2026 | Madrid, Spain

Universidad Carlos III de Madrid

University

www.uc3m.es/innovacion/cartera_tecnologica_y_conocimientoMadrid, Spain
5 profile visits

About

Universidad Carlos III de Madrid is a public university in Spain, founded in 1989, known for its focus on quality teaching, research, innovation and with a clear international vocation.

We are open to connect, collaborate and to put our technologies in contact with SMEs and corporates to reach common Civil Security and Cybersecurity goals.

Social media

Fighting Crime and Terrorism

HORIZON-CL3-2026-01-FCT-01: Improving capabilities of law enforcement to counter climate-related challengesHORIZON-CL3-2026-01-FCT-02: Open topic on preventing and countering the misuse of emerging technologies for criminal purposes, including issues related to lawful access to dataHORIZON-CL3-2026-01-FCT-03: Missing persons: prevention and investigationHORIZON-CL3-2026-01-FCT-04: Crime prevention approaches, online and off-line, tackling the nexus between addictions and crimeHORIZON-CL3-2026-01-FCT-05: Enhancing the security of citizens against terrorism and lone-actor violence in confined spaces such as schoolsHORIZON-CL3-2026-01-FCT-06: Prevention and mitigation of misuse of synthetic biology for bioterrorism purposes

Border Management

HORIZON-CL3-2026-01-BM-01: Advanced border surveillance and situational awarenessHORIZON-CL3-2026-01-BM-02: Accessible and available travel facilitationHORIZON-CL3-2026-01-BM-03: Reliability of age assessment methods in the context of security and border management

Resilient Infrastructure

HORIZON-CL3-2026-01-INFRA-01: Tools and processes to support stress tests of critical infrastructureHORIZON-CL3-2026-01-INFRA-02: Security challenges of the green transition in urban und peri urban areasHORIZON-CL3-2026-01-INFRA-03: Targeted innovative capabilities for the resilience of critical entities to natural and human-induced disasters, including hybrid scenarios

Disaster-resilient society

HORIZON-CL3-2026-01-DRS-01: Designing new ways of risk awareness and enhanced disaster preparednessHORIZON-CL3-2026-01-DRS-02: Multi-hazard approach and cumulative / cascading impactsHORIZON-CL3-2026-01-DRS-03: Development of innovative tools, processes, equipment and technologies through responses to disasters and emergencies for search and rescue in hazardous conditionsHORIZON-CL3-2026-01-DRS-04: Open topic on driving innovation uptake of disaster risk solutionsHORIZON-CL3-2026-01-DRS-05: Climate security and civil preparedness – new ways to develop pre- and post-crisis climate-change related scenarios for a more resilient Europe

Support to Security Research and Innovation 

HORIZON-CL3-2026-01-SSRI-01: Open topic on supporting disruptive technological innovations for civil securityHORIZON-CL3-2026-01-SSRI-02: Demand-led innovation in securityHORIZON-CL3-2026-01-SSRI-03: Public procurement of innovation for securityHORIZON-CL3-2026-01-SSRI-04: Development of ecosystem and next-generation capabilities for a secured European Critical Communication System in civil security

Cybersecurity

HORIZON-CL3-2026-02-CS-ECCC-01:Approaches and tools for security in software and hardware development and assessmentHORIZON-CL3-2026-02-CS-ECCC-02:Enhancing the Security, Privacy and Robustness of AI Models and Systems (SecureAI)HORIZON-CL3-2026-02-CS-ECCC-03:Advanced cryptographic schemes and High-Assurance high-speed cryptographic implementations

Representatives

On-site
On-site

UC3M Knowledge Transfer Office

Universidad Carlos III de Madrid

Marketplace (9)

  • Project cooperation

    Identification Technologies

    Identity management and biometric identification solutions; seeking technical cooperation, commercial agreements, and more

    • Research and Innovation Action
    • Execution - Development stage (preparation)
    • HORIZON-CL3-2026-01-SSRI-02: Demand-led innovation in security
    • HORIZON-CL3-2026-01-SSRI-03: Public procurement of innovation for security
    • HORIZON-CL3-2026-01-BM-01: Advanced border surveillance and situational awareness
    • HORIZON-CL3-2026-01-FCT-05: Enhancing the security of citizens against terrorism and lone-actor violence in confined spaces such as schools
    • HORIZON-CL3-2026-01-FCT-02: Open topic on preventing and countering the misuse of emerging technologies for criminal purposes, including issues related to lawful access to data
    Author

    UC3M Knowledge Transfer Office at Universidad Carlos III de Madrid

    Madrid, Spain

  • Project cooperation

    Remote Sensing of Gases Using Infrared (IR) Sensors

    Infrared multi- and hyperspectral gas remote sensing sensors; seeking technical cooperation, commercial agreements with technical assistance

    • Research and Innovation Action
    • Execution - Development stage (preparation)
    • HORIZON-CL3-2026-01-DRS-01: Designing new ways of risk awareness and enhanced disaster preparedness
    • HORIZON-CL3-2026-01-INFRA-02: Security challenges of the green transition in urban und peri urban areas
    • HORIZON-CL3-2026-01-FCT-01: Improving capabilities of law enforcement to counter climate-related challenges
    • HORIZON-CL3-2026-01-SSRI-01: Open topic on supporting disruptive technological innovations for civil security
    • HORIZON-CL3-2026-01-FCT-06: Prevention and mitigation of misuse of synthetic biology for bioterrorism purposes
    • HORIZON-CL3-2026-01-DRS-05: Climate security and civil preparedness – new ways to develop pre- and post-crisis climate-change related scenarios for a more resilient Europe
    Author

    UC3M Knowledge Transfer Office at Universidad Carlos III de Madrid

    Madrid, Spain

  • Project cooperation

    Multi- and Hyperspectral Passive Infrared (IR) Sensors for Safe Threat Detection

    Passive multi- and hyperspectral IR sensors for low false-alarm threat detection; seeking manufacturing, or commercialization agreements

    • Planning - Conceptio stage
    • Research and Innovation Action
    • HORIZON-CL3-2026-01-SSRI-02: Demand-led innovation in security
    • HORIZON-CL3-2026-01-SSRI-03: Public procurement of innovation for security
    • HORIZON-CL3-2026-01-DRS-02: Multi-hazard approach and cumulative / cascading impacts
    • HORIZON-CL3-2026-01-DRS-04: Open topic on driving innovation uptake of disaster risk solutions
    • HORIZON-CL3-2026-01-DRS-01: Designing new ways of risk awareness and enhanced disaster preparedness
    • HORIZON-CL3-2026-01-FCT-06: Prevention and mitigation of misuse of synthetic biology for bioterrorism purposes
    • HORIZON-CL3-2026-01-FCT-05: Enhancing the security of citizens against terrorism and lone-actor violence in confined spaces such as schools
    • HORIZON-CL3-2026-01-DRS-05: Climate security and civil preparedness – new ways to develop pre- and post-crisis climate-change related scenarios for a more resilient Europe
    Author

    UC3M Knowledge Transfer Office at Universidad Carlos III de Madrid

    Madrid, Spain

  • Project cooperation

    Security and defense of people, mobile systems, and infrastructures subjected to impulsive loads

    Protection and mitigation solutions against explosions and impacts; seeking R&D cooperation, and experimental testing partnerships

    • Resilient Infrastructure
    • Disaster-resilient society
    • Research and Innovation Action
    • Execution - Development stage (preparation)
    • HORIZON-CL3-2026-01-DRS-02: Multi-hazard approach and cumulative / cascading impacts
    • HORIZON-CL3-2026-01-INFRA-01: Tools and processes to support stress tests of critical infrastructure
    • HORIZON-CL3-2026-01-BM-03: Reliability of age assessment methods in the context of security and border management
    • HORIZON-CL3-2026-01-INFRA-03: Targeted innovative capabilities for the resilience of critical entities to natural and human-induced disasters, including hybrid scenarios
    • HORIZON-CL3-2026-01-DRS-05: Climate security and civil preparedness – new ways to develop pre- and post-crisis climate-change related scenarios for a more resilient Europe
    Author

    UC3M Knowledge Transfer Office at Universidad Carlos III de Madrid

    Madrid, Spain

  • Project cooperation

    Multi-sensor fusion platform for monitoring systems

    AI-based multi-sensor fusion platform for large-scale surveillance; seeking technical cooperation for R&D and system integration

    • Research and Innovation Action
    • Execution - Development stage (preparation)
    • HORIZON-CL3-2026-01-SSRI-02: Demand-led innovation in security
    • HORIZON-CL3-2026-01-BM-02: Accessible and available travel facilitation
    • HORIZON-CL3-2026-01-SSRI-03: Public procurement of innovation for security
    • HORIZON-CL3-2026-01-BM-01: Advanced border surveillance and situational awareness
    • HORIZON-CL3-2026-01-FCT-04: Crime prevention approaches, online and off-line, tackling the nexus between addictions and crime
    • HORIZON-CL3-2026-01-FCT-05: Enhancing the security of citizens against terrorism and lone-actor violence in confined spaces such as schools
    Author

    UC3M Knowledge Transfer Office at Universidad Carlos III de Madrid

    Madrid, Spain

  • Project cooperation

    Automatic Person Detection System based on Image Analysis

    Automatic person detection in visible and LWIR images; seeking funding from security and video-surveillance partners

    • Execution - Development stage (preparation)
    • HORIZON-CL3-2026-01-FCT-03: Missing persons: prevention and investigation
    • HORIZON-CL3-2026-01-BM-01: Advanced border surveillance and situational awareness
    • HORIZON-CL3-2026-01-FCT-04: Crime prevention approaches, online and off-line, tackling the nexus between addictions and crime
    • HORIZON-CL3-2026-01-FCT-05: Enhancing the security of citizens against terrorism and lone-actor violence in confined spaces such as schools
    Author

    UC3M Knowledge Transfer Office at Universidad Carlos III de Madrid

    Madrid, Spain

  • Project cooperation

    Unique anti-counterfeiting identification of integrated circuits

    PUF-based anti-counterfeiting identification for integrated circuits; seeking investment and commercial agreements with technical assistance

    • Early - Idea stage
    • Planning - Conceptio stage
    • Research and Innovation Action
    • HORIZON-CL3-2026-01-SSRI-02: Demand-led innovation in security
    • HORIZON-CL3-2026-01-INFRA-01: Tools and processes to support stress tests of critical infrastructure
    • HORIZON-CL3-2026-01-BM-03: Reliability of age assessment methods in the context of security and border management
    • HORIZON-CL3-2026-01-FCT-02: Open topic on preventing and countering the misuse of emerging technologies for criminal purposes, including issues related to lawful access to data
    Author

    UC3M Knowledge Transfer Office at Universidad Carlos III de Madrid

    Madrid, Spain

  • Project cooperation

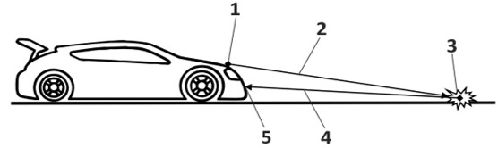
    Vehicle-mounted optical sensor for anticipating pavement condition and grip coefficient

    Vehicle-mounted optical sensor for pavement condition and grip estimation; seeking license agreements with automotive manufacturers

    • Planning - Conceptio stage
    • Research and Innovation Action
    • HORIZON-CL3-2026-01-BM-02: Accessible and available travel facilitation
    • HORIZON-CL3-2026-01-FCT-01: Improving capabilities of law enforcement to counter climate-related challenges
    • HORIZON-CL3-2026-02-CS-ECCC-01:Approaches and tools for security in software and hardware development and assessment
    Author

    UC3M Knowledge Transfer Office at Universidad Carlos III de Madrid

    Madrid, Spain

  • Project cooperation

    Vascular Pattern Biometric Identification System

    Contactless wrist vascular biometric identification using IR imaging; seeking technical and commercial partners for development

    • Planning - Conceptio stage
    • Research and Innovation Action
    • Execution - Development stage (preparation)
    • HORIZON-CL3-2026-01-FCT-03: Missing persons: prevention and investigation
    • HORIZON-CL3-2026-02-CS-ECCC-01:Approaches and tools for security in software and hardware development and assessment
    • HORIZON-CL3-2026-01-FCT-02: Open topic on preventing and countering the misuse of emerging technologies for criminal purposes, including issues related to lawful access to data
    Author

    UC3M Knowledge Transfer Office at Universidad Carlos III de Madrid

    Madrid, Spain